剪刀汇款明细 共 3227 张

10月8日商洛客户转帐140元至农行帐户
10月8日商洛客户转帐140元至农行帐户
10月8日重庆客户转帐180元至微信帐户
10月8日重庆客户转帐180元至微信帐户
10月8日东莞客户转帐410元至微信帐户
10月8日东莞客户转帐410元至微信帐户
10月7日广州客户转帐160元至微信帐户
10月7日广州客户转帐160元至微信帐户
第二次购买10月7日无锡客户转帐424元至微信帐户
第二次购买10月7日无锡客户转帐424元至微信帐户
第二次购买10月6日杭州客户转帐542元至农行帐户
第二次购买10月6日杭州客户转帐542元至农行帐户
10月6日莆田客户转帐460元至微信帐户
10月6日莆田客户转帐460元至微信帐户
10月6日太原客户转帐250元至支付宝帐户
10月6日太原客户转帐250元至支付宝帐户
第三次购买10月4日惠州客户转帐90元至微信帐户
第三次购买10月4日惠州客户转帐90元至微信帐户
10月4日牡丹江客户转帐100元至微信帐户
10月4日牡丹江客户转帐100元至微信帐户
10月5日西安客户转帐95元至微信帐户
10月5日西安客户转帐95元至微信帐户
第二次购买10月5日湖州客户转帐100元至微信帐户
第二次购买10月5日湖州客户转帐100元至微信帐户
10月4日朔州客户转帐265元至微信帐户
10月4日朔州客户转帐265元至微信帐户
10月4日贵阳客户转帐100元至微信帐户
10月4日贵阳客户转帐100元至微信帐户
10月4日辽源客户转帐130元至微信帐户
10月4日辽源客户转帐130元至微信帐户
10月4日广州客户转帐100元至微信帐户
10月4日广州客户转帐100元至微信帐户
10月3日深圳客户转帐120元至微信帐户
10月3日深圳客户转帐120元至微信帐户
10月3日镇江客户转帐80元至支付宝帐户
10月3日镇江客户转帐80元至支付宝帐户
10月2日济宁客户转帐55元至微信帐户
10月2日济宁客户转帐55元至微信帐户
第二次购买9月30日沈阳客户转帐95元至微信帐户
第二次购买9月30日沈阳客户转帐95元至微信帐户
9月30日成都客户转帐185元至微信帐户
9月30日成都客户转帐185元至微信帐户
9月28日昆明客户转帐275元至微信帐户
9月28日昆明客户转帐275元至微信帐户
9月28日彭州客户转帐230元至微信帐户
9月28日彭州客户转帐230元至微信帐户
9月28日安顺客户转帐95元至微信帐户
9月28日安顺客户转帐95元至微信帐户
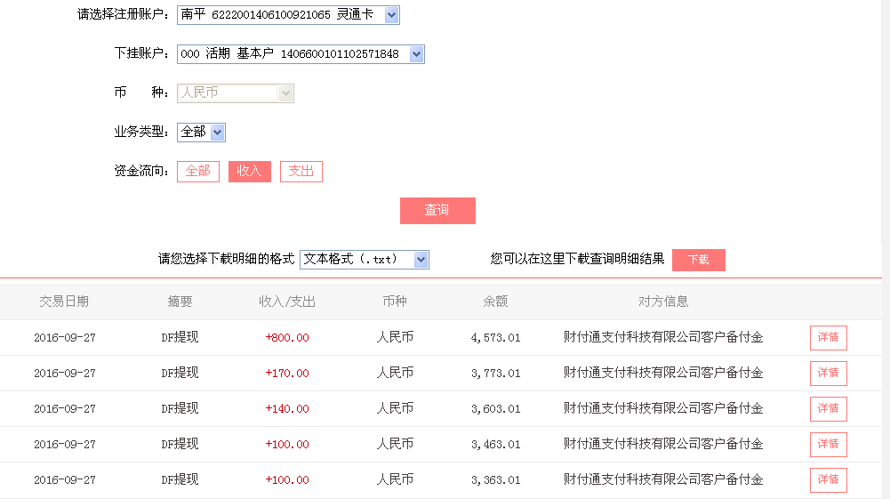
9月27日忻州客户转帐140元至微信帐户
9月27日忻州客户转帐140元至微信帐户
9月27日银川客户转帐800元至微信帐户
9月27日银川客户转帐800元至微信帐户
第二次购买9月27日上饶客户转帐100元至微信帐户
第二次购买9月27日上饶客户转帐100元至微信帐户
9月27日东莞客户转帐170元至微信帐户
9月27日东莞客户转帐170元至微信帐户
9月27日晋江客户转帐100元至微信帐户
9月27日晋江客户转帐100元至微信帐户
9月26日惠州客户转帐95元至微信帐户
9月26日惠州客户转帐95元至微信帐户
9月25日东莞客户转帐185元至微信帐户
9月25日东莞客户转帐185元至微信帐户
9月25日济南客户转帐215元至微信帐户
9月25日济南客户转帐215元至微信帐户
9月25日漳州客户转帐295元至微信帐户
9月25日漳州客户转帐295元至微信帐户
9月25日菏泽客户转帐185元至微信帐户
9月25日菏泽客户转帐185元至微信帐户
9月23日滨州客户转帐100元至微信帐户
9月23日滨州客户转帐100元至微信帐户
9月23日长治客户转帐140元至微信帐户
9月23日长治客户转帐140元至微信帐户
9月22日天津客户转帐185元至微信帐户
9月22日天津客户转帐185元至微信帐户
9月22日襄阳客户转帐130元至微信帐户
9月22日襄阳客户转帐130元至微信帐户
9月22日银川客户转帐100元至微信帐户
9月22日银川客户转帐100元至微信帐户
9月22日临沂客户转帐140元至支付宝帐户
9月22日临沂客户转帐140元至支付宝帐户
9月22日深圳客户转帐150元至微信帐户
9月22日深圳客户转帐150元至微信帐户
9月22日佛山客户转帐100元至微信帐户
9月22日佛山客户转帐100元至微信帐户
9月22日淮南客户转帐140元至微信帐户
9月22日淮南客户转帐140元至微信帐户
9月21日贵阳客户汇款180元至农行帐户
9月21日贵阳客户汇款180元至农行帐户
9月21日无锡客户转帐185元至微信帐户
9月21日无锡客户转帐185元至微信帐户
9月22日长治客户转帐125元至微信帐户
9月22日长治客户转帐125元至微信帐户
9月21日恩施客户转帐130元至微信帐户
9月21日恩施客户转帐130元至微信帐户
9月20日中山客户转帐185元至微信帐户
9月20日中山客户转帐185元至微信帐户
9月20日南京客户转帐230元至微信帐户
9月20日南京客户转帐230元至微信帐户
9月20日绍兴客户转帐95元至微信帐户
9月20日绍兴客户转帐95元至微信帐户
9月19日清远客户转帐137元至微信帐户
9月19日清远客户转帐137元至微信帐户
9月19日佛山客户转帐220元至微信帐户
9月19日佛山客户转帐220元至微信帐户
9月18日敦煌客户转帐180元至微信帐户
9月18日敦煌客户转帐180元至微信帐户
9月18日惠州客户转帐137元至微信帐户
9月18日惠州客户转帐137元至微信帐户
9月19日东莞客户转帐634元至微信帐户
9月19日东莞客户转帐634元至微信帐户
9月18日常州客户转帐100元至微信帐户
9月18日常州客户转帐100元至微信帐户
9月18日重庆客户转帐180元至微信帐户
9月18日重庆客户转帐180元至微信帐户
9月17日桂林客户转帐130元至农行帐户
9月17日桂林客户转帐130元至农行帐户
9月17日清远客户转帐100元至微信帐户
9月17日清远客户转帐100元至微信帐户
9月16日天津客户转帐150元至微信帐户
9月16日天津客户转帐150元至微信帐户